| 実用新案とは |
 |
簡単な技術=ローテクだって、その技術が提供する便利さを実現するための構造が過去になく、またそのような構造を一般の技術者では簡単に思いつかないと判断された場合には、特許になってしまいます。小発明を保護する実用新案であればなおさらのことです。
「でも、そんな簡単な実用新案を取って意味があるんですか?」このような質問をしてくる方もいらっしゃることでしょう。
先端技術の分野で生き残らなければならない業界であれば、すでに公に知られている先端技術と比較して、自社の技術を評価しなければなりません。しかし、ローテクの分野であって、ライバル会社もローテクで特許や実用新案を取っているような業界であれば、その中で技術を評価する必要があります。そのような業界の場合、「えっ、こんなものでも実用新案になるの?」と思われるようなちょっとした技術であっても、それを実用新案にすることによって市場を押さえ、高い利益を生み出すことができるのです。
身近にある簡単な技術に与えられた実用新案をご紹介します。
権利者 : 橋 義晴
登録番号 : 実用新案 登録第1966971号
登録日 : 平成5年5月28日
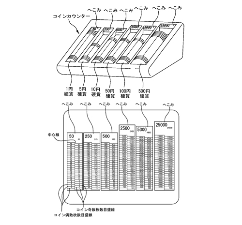
コンビニエンス・ストアの元店長が、小銭(硬貨)の計算に苦労した体験から生まれた実用新案です。ちょうど消費税が導入される時期に開発された考案でしたので爆発的なヒットとなりました。
プラスチックケースに、硬貨に倣ったへこみを設け、そのへこみの中に、中心線の右側にコインの奇数枚数の目盛線、左側に偶数枚数の目盛線を設け、かつそれぞれの上下の目盛線の間にコインの枚数に対応する総額を表示することによって、積載したコインの総額を一目で読みとれるようにしました。
権利者 : 王子ティッシュ株式会社
登録番号 : 実用新案 登録第1834033号
登録日 : 平成2年10月1日
株式会社ネピアの前身である王子ティッシュ販売株式会社の実用新案です。
ティッシュペーパー用箱の両サイドに円弧状のミシン線を設け、さらにこの円弧状のミシン目に連続して水平のミシン目を設ける構造で、使用後には円弧状のミシン目に指を突っ込み、上下外フラップ、左右内フラップをそれぞれ剥離し外側に開き、さらに箱を上から軽く押しつぶしてスムーズに畳めるようにしたものです。
すでに品質において成熟し競争の激しいティッシュペーパーの業界において、コストを抑えた付加価値商品として、需要者に受け入れられ、市場に浸透しました。
|
|
|
| |
|